Microchip Technology UCS2113-C USB Power Switch & Current Monitors
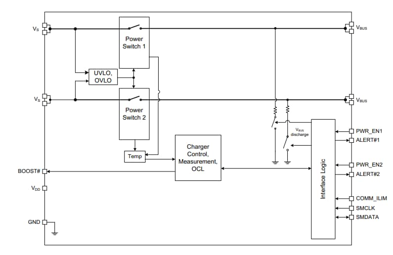
Microchip Technology UCS2113-C USB Dual-Port Power Switch and Current Monitors provide 3A continuous current per VBUS port with precision overcurrent limiting (OCL). The UCS2113-C additionally features port power switch enable, auto-recovery fault handling, undervoltage and overvoltage lockout, back-drive protection and back-voltage protection, and thermal protection.The Microchip UCS2113-C USB Dual-Port Power Switch and Current Monitors are ideal for both stand-alone and applications having SMBus/I2C communications. For SMBus applications, the UCS2113-C delivers per-port current monitoring and three programmable current limits per switch, ranging from 3.5A to 5.2A. Per-port charge rationing is also provided, ranging from 3.8mAh to 246.3Ah. The UCS2113-C in stand-alone mode supports three current limits for both switches, running from 3.5A + 3.5A to 5.2A + 5.2A. Both power switches include an independent VBUS discharge function.
The UCS2113-C Dual-Port Power Switch and Current Monitors are available in a 4x4 mm 20-pin QFN package.
Features
- Dual-port power switches:
- 2.9V to 5.5V Source voltage range
- 3A continuous current per VBUS port with 40mΩ on resistance per switch
- Independent port power switch enable pins
- DUAL fault ALERT# active drain output pins
- Trip mode current limiting behavior
- Undervoltage and overvoltage lockout
- Back-drive, back-voltage protection
- Auto-recovery fault handling with low test current
- BOOST# logic output to increase DC-DC converter output under large load conditions
- SMBus 2.0/I2C Mode Features:
- Three programmable current limits assignable to each power switch
- Other SMBus addresses available upon request
- Block read and block write
- Self-contained current monitoring (no external sense resistor required)
- Fully programmable per-port charge rationing and behaviors
- Automatic VBUS discharge function
- -40°C to +105°C Wide operating temperature range
- Passes automotive AEC-Q100 reliability testing
Block Diagram
Publicado: 2021-02-09
| Actualizado: 2022-03-11
